顺网游戏2025-12-19
各位亲爱的玩家:
为了给您提供更好的游戏体验和感受,《刀剑笑之霸刀》将对部分服务器进行数据互通操作,服务器数据互通后,原服务器入口依然保留,参与数据互通服务器中的玩家依然可以选择老的服务器名进行进入。
合服时间:
2025年12月20日8:00-9:00
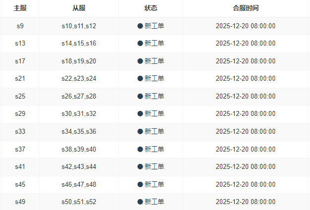
合服范围:
合服规则
角色清理:
最近15天无登陆记录,角色等级<70级且无充值记录,并且无军团的角色将会被删除
最近7天无登陆记录,角色等级<40级且无充值记录的角色将会被删除
军团清理:
最近7天无成员登陆记录的军团将被强制解散
1合服日期
1.1 需要记录合服日期
a)后续会有运营类活动、定时活动等,会根据合服日期开启
b)合服日期为合服后,服务器开启的当天为合服第一天
i.合服后开启对应的合服活动
1.2 开服日期
a)开服日期以主服务器的开服日期为准
2、比武场等排行榜
a)排行榜数据,重新排序,两个服的玩家合并排序
b)部分需要玩家重新打一场后,才会重新上榜(积分不会变,只是数据更新需要)
3、BOSS刷新
同正式开服
a)所有本服BOSS全部复活
b)跨服boss不受影响
4、角色清理
角色清理:
a)最近15天无登陆记录,角色等级<70级且无充值记录,并且无军团的角色将会被删除
b)最近7天无登陆记录,角色等级<40级且无充值记录的角色将会被删除
5、军团清理
a)最近7天无成员登陆记录的军团将被强制解散
6、脱机相关
a正在押镖的保留